什么是边缘计算?什么是雾计算?
随着万物互联的泛在化发展,近年来,边缘计算(Edge Computing)的热度持续上升,大有和云计算分庭抗礼的架势,而边缘计算可以分为MEC、微云和雾计算。

在万物互联全面普及的时代背景下,边缘计算(Edge Computing)近年来热度持续攀升,技术地位不断提升,已逐渐形成与云计算并行发展、分庭抗礼的格局。
IDC 预测数据显示,2020 年全球联网终端及设备总量将突破 500 亿台,其中40% 以上的数据需在网络边缘完成分析、处理与存储。
那么,面向网络边缘部署的边缘计算究竟是一项怎样的技术?公开资料定义:边缘计算是部署于靠近物联网设备与数据源头侧,集成网络、计算、存储及应用服务能力的开放式平台。其核心思路是将云计算能力下沉至网络边缘,深度融合传统移动通信网、互联网与物联网业务,有效缩短业务端到端传输时延。
经过多年发展,业界已形成三种主流公认的边缘计算技术体系:MEC 多接入边缘计算、微云以及雾计算。由于概念相近,三者常被混淆,下文将对各类边缘计算技术进行详细辨析。
多接入边缘计算(MEC)
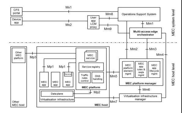
MEC(Multi-access Edge Computing,多接入边缘计算)最早由欧洲电信标准化协会 ETSI 于 2014 年正式提出,初创成员包含惠普、沃达丰、华为、诺基亚、英特尔、Viavi 等企业。MEC 旨在为移动网络边缘构建 IT 服务环境与云端算力能力,通过在移动网边缘本地化部署缓存、数据转发与算力计算能力,缓解回传链路带来的时延压力,最终实现毫秒级低时延业务响应。

MEC 典型应用场景主要分为以下三类:
面向网络连接与网络能力开放的本地边缘服务。包括可替代企业自建 Wi-Fi 的移动虚拟专网、结合室分系统与无线信号的室内定位服务;以及通过边缘就近处理、减少回传链路占用、降低业务时延的视频类边缘服务,例如与 CDN 融合的边缘缓存、面向视频监控场景的边缘存储与智能识别分析业务。
面向终端侧的边缘辅助计算服务。通过算力下沉实现终端计算任务迁移,有效降低终端硬件成本,典型应用包括 AR/VR、云游戏等场景的边缘云渲染服务。
行业垂直智能化应用。在智慧园区场景中,MEC 可优化园区视频业务与 IT 应用的数据路由,减少流量迂回转发,降低传输时延,同时提供本地闭环、安全可控的数据处理环境;在自动驾驶领域,MEC 依托 5G 网络能力,为车队提供高精度地图下发、感知视野共享、实时智能分析、无缝移动切换等功能,赋能自动驾驶系统,实现高精度、高安全、零中断的行驶体验。
MEC 具备广阔的应用前景,除上述场景外,仍有大量物联网垂直行业领域有待进一步挖掘与落地。
当前国内三大运营商均已开展 MEC 试点部署,落地业务涵盖 LTE 移动虚拟专网、车联网、边缘缓存、室内定位等。依据《中国联通边缘计算技术白皮书》中中国联通 5G 网络 MEC 部署规划,MEC 部署位置与业务场景高度匹配,按照部署层级可分为无线接入云、边缘云、汇聚云三种部署模式。
总体而言:面向 uRLLC 超低时延业务场景,MEC 需部署在靠近基站侧的无线接入云;面向 eMBB 大流量热点区域场景,MEC 适宜部署于边缘云;面向 mMTC 海量物联网连接场景,将 MEC 部署在更高层级的汇聚云,可满足大范围区域的业务覆盖需求。

就无线接入云这种形式来看,MEC 与基站 CU 单元、核心网转发面 UPF 部署于无线接入云。通过在基站侧部署本地业务,为用户提供更短时延的服务。
其中,CU 单元包括 RRC 和 PDCP 层,DU 单元包括 RLC、 MAC 和 PHY 层,且 4G eNB 和 5G gNB 的 CU 单元可以合设。此方式下,MEC业务覆盖范围较小,适用于移动速度低,甚至不移动但对时延敏感的业务,比如赛场、场馆、景区相关的业务。
微云
和MEC相比较,如果说MEC更强调“边缘”这个概念,那么微云更侧重于移动这个概念。
微云是开放边缘计算(Open Edge Computing,OEC)项目的研究成果,该项目最初由美国卡内基梅隆大学发起,此后受到了华为、英特尔和沃达丰等企业的支持。
公开资料显示,它是将移动计算平台和云计算结合起来的边缘计算体系架构,代表了“移动终端——微云——云”三层架构的中间层,其处在移动终端和云平台之间,是被部署在网络边缘、具有移动性的小型数据中心。

虽然微云本身是位于网络边缘,甚至从直观来讲更靠近用户,但微云主要是用于类似车辆网场景下的移动性增强,能为移动设备提供丰富的计算资源,甚至在飞机和车辆上直接运行。微云,旨在将云部署到离用户更近的地方,可以理解为一个轻量级的MEC。
就微云部署的位置来看,其与终端用户的距离为一跳无线连接,比如部署在蜂窝网络基站或者Wi-Fi基站上,为终端用户的计算任务提供低时延响应。当多个微云构建成分布式的移动边缘计算环境,拓展用户可用资源,可通过提供类似云平台的动态迁移机制,实现资源的负载均衡。
微云本质上是云,但微云与传统的云相比,两者又有区别,主要表现为以下几个方面:快速配置(Papid Provisioning)、不同微云之间的虚拟机切换(VM Hand-off)以及微云发现(Cloudlet Discovery)。
例如快速配置,由于微云主要是针对移动场景而设计的,因此会面临用户终端移动性带来的连接高度动态化问题,因此必须具备灵活的快速配置能力。
雾计算
雾计算的概念是思科(Cisco)2012年时提出的,随后,思科联合Arm、戴尔、英特尔、微软和普林斯顿大学,于2015年联合成立了开放雾计算联盟(OpenFog Consortium)。
相比MEC和微云来说,雾计算侧重点在物联网(IoT)的应用方面。
2017年2月,开放雾计算联盟发布了OpenFog参考架构,这是一个利用开放的标准方法,将云端的无缝智能与物联网终端联合在一起,旨在支持物联网、5G和人工智能应用的数据密集型需求的通用技术架构。(子午物联ziwuiot.com)
从传统封闭式系统以及依赖云计算来看,OpenFog已转变为一种新计算模型。它基于工作负载和设备能力,使计算更加接近网络边缘。雾计算将计算、通信、控制、存储资源和服务分配给用户或分布在靠近用户的设备与系统上,从而将云计算扩展到网络边缘,可以将它理解为位于网络边缘的小型云。

整个雾网络是由多个雾节点组成的整体,单个雾节点其性能相对较弱,但是地理位置分布广泛。由于其节点地理位置较为分散,不会集中产生大量的热量,因此无需额外的冷却系统,从而减少耗电。
此前,美陆军研究实验室向Technica公司授出了一份价值100万美元的合同,委托该公司为战场士兵开发雾计算平台SmartFog。该平台在联网的情况下训练机器学习算法,在战场上可融合各种来源的数据并在不连接云的情况下进行离线处理,从而让士兵在断网区域应用人工智能能力。这里,其可以视为单兵设备与云之间的中间层,可以使士兵随时获取计算能力和存储空间。
三者对比分析
MEC、微云和雾计算,作为边缘计算的三种具体模式,其在部署位置、应用场景和实时交互方面有诸多相似点,也有不同之处。其主要表现为以下几个方面:
就部署位置来看,MEC是位于终端和数据中心之间,可以和接入点、基站、流量汇聚点、网关等共址;而微云和雾计算的部署位置,和以上提到的MEC部署位置一致。此外,微云还可以直接运行在车辆、飞机等终端上。
就应用场景来看,MEC主要致力于为应用降低时延,适合物联网、车联网、AR/VR等多种应用场景;微云适用于移动增强型应用以及物联网等诸多场景;而雾计算,主要是针对需要分布式计算和存储的物联网场景。

就三者的移动性和不同边缘节点上相同应用的实时交互支持,MEC只提供终端从一个边缘节点移动到另一个边缘节点情况下的移动性管理;而微云,其是提供虚拟机镜像从一个边缘节点到另一个边缘节点切换的支持;至于雾计算,则是完全支持雾节点分布式应用之间的通信。
总结
不管是MEC、微云,还是雾计算,这几种边缘计算都有各自的特性和适用的场景。根据文章开头所述,如今全球将有40%的数据要在网络边缘侧进行处理,不可不说,边缘计算已成为一种重要的计算方式,而这三种边缘计算模式是经过长期的发展演化出来的不同类型,所以对于万物互联行业的发展同样重要。
此外,边缘计算和云计算的协同问题也成为关注的焦点,两者可以彼此优化补充,共同使能行业数字化转型。如果说云计算是一个统筹者,它负责长周期数据的大数据分析,那么边缘计算更注重于实时、短周期数据的分析。正如我们所知道的,边缘计算更靠近设备端,因而它为云端数据的采集和大数据分析提供了支持,而云计算,则是通过大数据分析输出指令下发到网络边缘。






















